Serviços Personalizados
Journal
Artigo
Indicadores
-
Citado por SciELO -
Acessos
Links relacionados
-
Citado por Google -
Similares em
SciELO -
Similares em Google
Compartilhar
DYNA
versão impressa ISSN 0012-7353versão On-line ISSN 2346-2183
Dyna rev.fac.nac.minas v.76 n.160 Medellín out./dez. 2009
ANÁLISIS DE LA VULNERABILIDAD DE LA RESISTENCIA MECÁNICA DE UN ACOPLE USADO EN TRENES CAÑEROS
VULNERABILITY ANALYSIS OF THE MECHANICAL STRENGTH OF A COUPLING USED IN SUGARCANE TRAIN
JOSÉ ISIDRO GARCÍA
Profesor, Escuela de Ingeniería Mecánica, Universidad del Valle, josgarme@univalle.edu.co
JUAN CARLOS BURBANO
Profesor, Universidad Tecnológica de Pereira, jburbano@utp.edu.co
JOHN JAIRO CORONADO
Profesor, Escuela de Ingeniería Mecánica, Universidad del Valle, johncoro@univalle.edu.co
Recibido para revisar julio 22 de 2008, aceptado marzo 3 de 2009, versión final marzo 13 de 2009
RESUMEN: Este artículo presenta el análisis de un acople, pieza que facilita el enganche de semirremolques tipo cañero, para formar lo que se conoce como tren cañero, vehículo encargado de transportar la caña desde el campo de cosecha hasta el ingenio azucarero. En este trabajo se estudia la vulnerabilidad de la resistencia mecánica en servicio ante el deterioro gradual por desgaste como resultado del movimiento relativo de dos superficies. La estimación de la carga de trabajo se hace por medio de dos métodos: uno teórico, y otro experimental que involucra la instrumentación del acople para la obtención de los datos requeridos. Se evalúa el comportamiento estructural del acople mediante técnicas computacionales de elementos finitos, para después analizarlo con disminución de la sección crítica del acople para la evaluación de la vida útil del mismo. Así, se estima un parámetro técnico de servicio para el cambio del acople, sin deterioro de las condiciones de seguridad en el transporte de la caña.
PALABRAS CLAVE: Desgaste, resistencia mecánica, acople, tren cañero.
ABSTRACT: This paper presents the analysis of a coupling, piece which facilitates the coupling of the baskets, to form what is known as sugarcane train, vehicle responsible for carrying cane from the harvest field until sugar mill. The work aims to study the vulnerability of the mechanical strength in service by gradual deterioration by wear as a result of the relative motion of two surfaces. The estimated workload is calculated through two methods: one theoretical, and another one experimental, involving the instrumentation coupling for obtaining the required data. It evaluates the structural behavior of coupling throughout of computational techniques using finite element, and then analyze the structural behavior with diminishes of the coupling critical section for evaluating the useful life of the same.
KEY WORDS: Wear, mechanical strength, coupling, sugarcane train.
1. INTRODUCCIÓN
El auge en los últimos años de la producción de biocombustibles, como el bioetanol, producido a partir de la caña de azúcar, y su uso reglamentado en algunos países como Brasil y Colombia, ha hecho que la cadena productiva asociada (siembra, cosecha, transporte y
producción) además de haberse incrementado, esté en continua búsqueda de sistemas cada vez más eficientes [1-3]. En el caso del sistema de transporte, encargado de llevar la materia prima desde el campo de cosecha hasta el ingenio azucarero, este sistema, en lo que a Colombia se refiere, consistía principalmente de un sistema de
tracción, como tractores, transportando vagones abiertos que presentaban inconvenientes con la carga transportada, tales como: pérdida de materia prima, control en el desplazamiento del último vagón, entre otros. Este sistema fue evolucionando hasta la utilización de semirremolques tipo cañero y articulado lateralmente de forma tal, que facilitan el transporte y descargue de la caña. (Ver Figura 1).
Figura 1. Sistema de transporte de caña de azúcar
Figure 1. Sugar cane transport system
Para facilitar el enganche de los semirremolques, para formar lo que se conoce como tren cañero, es utilizado un componente mecánico de acople, como se muestra en la Figura 2.
Figura 2. Acople para el enganche de semirremolques
Figure 2. Coupling used in baskets
Este acople es caracterizado por soportar una carga transversal al eje de 20039.70 lb ( 9089.85 kg) y una carga en la dirección del eje (fuerza de tiro) de 100209.40 lb ( 45454.22 kg) y donde se requiere un alivio de torsión alrededor de su eje de soporte. El desconocimiento de la vida útil de este componente, en la industria azucarera, previendo situaciones de alto riesgo de accidentes, ha generado sobrecostos en el mantenimiento, ocasionado por el cambio anticipado del acople, tiempo de los operarios de mantenimiento y paralización del equipo de transporte, entre otros factores, lo que ha motivado la caracterización de la sección crítica del acople para la evaluación de la vida útil del mismo.
La vida de servicio de un componente mecánico puede ser establecida en los estados de diseño y manufactura. Componentes y equipos pueden alcanzar el final de su vida en servicio predeterminada o útil debido a excesivo desgaste y fricción entre las superficies en contacto. Fricción es la resistencia al movimiento entre dos superficies que presentan un deslizamiento relativo entre ellas y puede resultar en desgaste de las superficies en contacto [4-6]. El desgaste de un componente mecánico puede conducir a pobre desempeño mecánico por pérdida de las tolerancias establecidas en el diseño, pérdida de la eficiencia y puede conducir a la falla prematura por disminución de su sección resistente [7-8]. El proceso de desgaste se puede definir como la perdida progresiva de material de la superficie de un cuerpo como resultado del movimiento relativo de dos superficies. Cuando dos materiales diferentes deslizan uno sobre el otro la unión de las asperezas presentan una resistencia intermedia; consecuentemente cuando el deslizamiento ocurre, el cortante tiende a ser más representativo en el estado de esfuerzos, dejando pequeños fragmentos del material de menor dureza unido al material más duro. Por otro lado, es posible que partículas sueltas que se incrusten en la superficie blanda presenten un posterior endurecimiento originada por la deformación. Esta situación permite que el material más blando penetre y corte la superficie del material más duro. Sin embargo, habitualmente, el mayor desgaste se presentará en la superficie de menor dureza [9]. La literatura reporta falla de componentes mecánicos por desgaste [9-12], otros trabajos han tratado problemas de desgaste de componentes usados en molinos de caña de azúcar [13-15], pero no se ha encontrado una investigación que aborde el desgaste de acoples para transporte en trenes cañeros, el cual representa un problema en la industria azucarera, tanto por el riesgo involucrado ante una falla en operación, como por los sobrecostos de operación derivados por el cambio prematuro en los componentes del acople. Por tal motivo en este trabajo se estima un desgaste permisible del acople con un factor de seguridad adecuado para evitar los riesgos que una falla de este tipo puede ocasionar.
2. MATERIALES Y PROCEDIMIENTO
El procedimiento utilizado es el siguiente: primero se describe la estimación de la carga de servicio sometida al acople, el cual es construido con un acero AISI 4130, típicos para aplicaciones en piezas de maquinaria con una resistencia de fluencia de 212 Ksi (1461.7 MPa) [16]. Luego se evalúa el comportamiento estructural de la pieza mediante técnicas computacionales de elementos finitos utilizando un software comercial llamado ALGOR®. Seguidamente, se analiza el comportamiento estructural con disminución de la sección crítica del modelo del acople en condiciones de servicio. Finalmente, se presentan los resultados y las conclusiones del trabajo.
3. ESTIMACIÓN DE LA CARGA DE TRABAJO DEL ACOPLE
Para la estimación de la carga de trabajo se procede a hacer el cálculo mediante dos métodos: uno teórico, que involucra el cálculo de fuerzas mediante la segunda ley de Newton, y otro experimental que involucra la instrumentación del acople para la obtención de los datos requeridos. La carga de trabajo seleccionada para el análisis estructural será la que presente la mayor magnitud entre los métodos utilizados.
3.1 Análisis Teórico
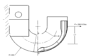
Para este análisis se considera un movimiento uniformemente acelerado, es decir, que el tren cañero acelera de 0 a 20 km/h en un tiempo de 10 segundos, de acuerdo con datos típicos de operación y con un coeficiente de fricción por rodadura de
[16]. En la Figura 3, se muestran las cargas que intervienen en el análisis. Siendo la fuerza F la de tiro la cual es la que actúa sobre el acople, la fuerza fr la de fricción por rodadura, y considerando que en una operación normal, un tren es integrado por cinco semirremolques con una carga de servicio (
) de 220458.50 lb ( 99998.29 kg).
Figura 3. Diagrama de fuerzas
Figure 3. Load diagram
Por la segunda ley de Newton se tiene que:

Así, la fuerza de tiro estimada en el acople es:
Cabe anotar que el resultado anterior es realizado para terreno plano, que es la superficie típica del marco geográfico del estudio (departamento del Valle del Cauca-Colombia).
3.2 Análisis Experimental
Para la realización del cálculo experimental de las cargas de trabajo se construyó un dinamómetro. Para tal efecto, se instrumentó un acople con medidores de deformación (strain gages). La Figura 4, muestra el acople instrumentado utilizado y la ubicación de los medidores de deformación tanto transversal como longitudinal.
Figura 4. (a) Acople del acople instrumentado. (b) Ubicación de los medidores transversal y longitudinal
Figure 4. (a) Instrumented coupling. (b) Transverse and longitudinal gauges location
Una vez instrumentado el acople, se realizaron dos pruebas, cada una con cinco semirremolques. Inicialmente, se registraron las microdeformaciones transportando los semirremolques sin caña y posteriormente las microdeformaciones con los semirremolques con caña. Para la distribución de las mediciones registradas se establece un conjunto de intervalos. De acuerdo al número de eventos en cada intervalo, es definida la frecuencia de ocurrencia, así, como una media de las mediciones registradas en cada uno de los intervalos. Con el objetivo de evidenciar la consideración de la totalidad de los eventos registrados, se define un parámetro acumulativo de ocurrencias. Estos resultados se pueden apreciar en las Tablas 1, 2, 3 y 4.
Tabla 1. Medidor transversal con canastas vacías
Table 1. Transversal strain gage with empty baskets

Tabla 2. Medidor longitudinal con canastas vacías
Table 2. Longitudinal strain gage with empty baskets

Tabla 3. Medidor transversal con canastas llenas
Table 3. Transversal strain gage with filled baskets

Tabla 4. Medidor longitudinal con canastas llenas
Table 4. Longitudinal strain gage with filled baskets

Como se puede observar en la Tabla 1, la mayor frecuencia de los datos del muestreo con semirremolques sin carga en el medidor transversal, se presenta en el intervalo de 3 a 13 µε (micro deformaciones) y en el medidor longitudinal (Tabla 2), el intervalo de 4.70 a 22.50 µε fue el de mayor ocurrencia con 306 eventos. La Tabla 3 muestra que la mayor frecuencia de los datos muestreados con los semirremolques con carga en el medidor transversal, se presenta en el intervalo de 0.80 a 8.40 µε, mientras que en el medidor longitudinal (Tabla 4) la mayor frecuencia de los datos muestreados con los semirremolques con carga se presenta en el intervalo de 8.80 a 26.10 µε, alcanzando valores máximos con una frecuencia dominante del 5 % en el intervalo 130.80 a 165.70 µε. La media en el intervalo donde se presentó la máxima deformación es de 148.25 µε en tracción.
Considerando el acople como un elemento con un solo grado de libertad de rotación alrededor de su eje, el estado de esfuerzo simplificado es uniaxial de tensión. Así, bajo este supuesto, el máximo esfuerzo presentado es:

Donde E es el módulo de elasticidad. Por tanto, la carga máxima cuantificada está dada por:

Donde A es el área transversal. Por tanto:
Así, comparando los resultados del análisis teórico y del experimental, se puede observar que el teórico es mayor y por tanto se toma como base para el análisis. La diferencia en los resultados es posible explicarla considerando la tolerancia en la carga de servicio y las condiciones del terreno.
4. COMPORTAMIENTO ESTRUCTURAL DEL ACOPLE
Para analizar el comportamiento estructural del acople, se toma como referencia un acople comercial, cuyas dimensiones características se presentan en la Figura 5.
Figura 5. Dimensiones de un acople comercial (medidas en pul)
Figure 5. Commercial coupling dimensions in inches
En esta parte del estudio se aborda el análisis del acople en condiciones de suministro. Para esto, inicialmente, se realiza un análisis teórico simplificado, considerando el acople como una viga curva. Posteriormente, los resultados obtenidos son comparados con los alcanzados por un modelo de elementos finitos (FEM) tridimensional, compuesto por elementos de 8 nodos y que permiten 4 grados de libertad de translación por nodo. De esta forma es avalada la convergencia de los resultados del modelo FEM, así como su posterior aplicación en el análisis en condiciones de desgaste, es decir, una calibracion del modelo fue realizada. Para la realización de este análisis, se disminuye gradualmente la sección crítica del modelo del acople, hasta alcanzar factores de servicio, estático y dinámico recomendables. De esta manera se pretende estudiar la vulnerabilidad de la resistencia mecánica en servicio ante el deterioro gradual por desgaste. Así, mediante el uso de la teoría de vigas curvas, se calculan los esfuerzos en los puntos externos que se presentan en el acople, teniendo en cuenta la configuración de fuerzas, geometría y condiciones de borde (Figura 6).
Figura 6. Modelo de viga curva adoptado (medidas en pul)
Figure 6. Adopted beam curve model in inches
Los valores de los esfuerzos obtenidos son:
Para un estimativo más detallado del calculo en el desgaste permisible del acople, se realiza un FEM que no difiera en más del 10% de los resultados del planteamiento teórico en condiciones iníciales de trabajo. La Figura 7 muestra el modelo desarrollado usando el programa ALGOR®.
Figura 7. Modelo del acople desarrollado en elementos finitos a) criterio de Von Misses b) criterio de Tresca
Figure 7. Coupling FEM model a) Von Misses criterion b) Tresca criterion
Comparando los esfuerzos obtenidos mediante el análisis teórico y los estimados con el modelo de elementos finitos, se observa que difieren en un máximo de 8%, lo cual demuestra que se pueden analizar modelos con confianza bajo estas condiciones de borde y de carga.
5. COMPORTAMIENTO ESTRUCTURAL CON DISMINUCIÓN DE LA SECCIÓN CRÍTICA DEL ACOPLE
En la medida en que el desgaste sea más severo, los efectos de tensión y flexión adquieren mayor relevancia en la zona de pérdida de material, llegando a ser la sección critica de la pieza. Esta sección crítica es formada por el desgaste entre el acople y el aro que forman el enganche, como se muestra en la Figura 8.
Figura 8. (a) Conjunto acople - aro. (b) Perfil de la sección crítica del acople
Figure 8. (a) Coupling. (b) Critical coupling section profile
Se realizaron varios FEM del acople para diferentes profundidades de desgaste. La Figura 9 muestra un FEM del acople desgastado, para un desgaste crítico de 1.40 pul ( 0.036 m).
Figura 9. Modelo en elementos finitos del acople desgastado para un desgaste crítico de 1.40 pul ( 0.036 m)
Figure 9. Worn coupling FEM model for critical wear of 1.4 inch ( 0,036 m)
Con el fin de avalar los resultados y ante la imposibilidad física de instrumentar el acople para obtener una medida del esfuerzo en la sección critica desgastada, se recurre a un modelo teórico basado en la geometría de la sección critica del acople.
La Figura 10 presenta la geometría de la sección crítica para esta profundidad de desgaste. Mediante herramientas CAD fueron estimadas las propiedades geométricas.
Figura 10. Sección crítica (medidas en pul)
Figure 10. Critical section profile in inches
Así, es posible analizar teóricamente la influencia de la flexión utilizando la siguiente expresión:

Donde:
(0.022m),
(1.8 x10-7 m4)
Así,
Este valor, presenta una diferencia de 6% con relación al valor obtenido con el FEM.
5.1 Cálculo del Factor de Seguridad (Fs) a Carga Estática
Considerando el esfuerzo admisible y el estado de esfuerzo máximo del acople de 82940 psi (571.8 MPa), es posible estimar el factor de seguridad para carga estática en la zona crítica mediante la expresión (5).

Donde el valor calculado de FS es 1.3.
5.2 Cálculo del Factor de Seguridad a Carga Variable
Considerando el criterio de Soderberg [16]:

Para un desgaste de 1.4 pulgadas en la zona crítica:

El límite de fatiga modificado Sn se calcula mediante la expresión (7):

Donde, ka es el factor por acabado y tiene un valor de 0.80, kb, factor por tamaño, igual a 0.85, kc, factor por confiabilidad, igual a 0.99, kd, factor por temperatura y kf representa factores diversos. Así, Sn tiene un valor de 57772.8 psi (398.3 MPa). Por tanto, el valor del factor de seguridad, aplicando el criterio de Soderberg, es de 1.2.
El anterior procedimiento se aplica para los diferentes modelos realizados, en los cuales se reduce la profundidad del desgaste. Un resumen de los resultados es recopilado en la Tabla 5.
Tabla 5. Valores de factor de seguridad a carga estable y variable para modelos con diferentes profundidades de desgaste
Table 5. Safety factor values for steady and dynamic loads for different wear depth models

Entre los valores presentados en la Tabla 5, la mejor selección, considerando los riesgos al personal involucrado [16], es la que presenta el factor de seguridad a carga estática igual a 2.4 y el factor de seguridad a carga variable igual a 2.0. Esta selección es lograda cuando el acople alcanza una profundidad de desgaste de 1 pulgada. Esto quiere decir, que es posible adoptar un criterio estándar de cambio del acople, cuando la profundidad de desgaste de la sección crítica alcance 1 pulgada.
6. CONCLUSIÓN Y RECOMENDACIONES
Los resultados obtenidos de acuerdo al procedimiento adoptado, indican que es posible definir un criterio estándar de cambio del acople, cuando la profundidad de desgaste de la sección crítica alcance 1 pulgada, es decir, cuando el factor de seguridad a carga estática es de 2.4 y el factor de seguridad a carga variable es de 2.0.
Se recomienda la evaluación de varios procedimientos de recuperación del acople desgastado, entre ellos, el de recuperacion por soldadura y recubrimientos, lo que puede contribuir en la disminución de los costos de operación de los trenes cañeros. Además, se recomienda realizar tratamientos térmicos en el acople, para aumentar la resistencia mecánica del material y disminuir el desgaste prematuro seguido de falla catastrófica.
REFERENCIAS
[1] PALMA A.E. CALERO L. CORTÉS E. Producción de caña y azúcar en el valle del río Cauca durante 2007, Revista CENICAÑA, 30 p, 2008. [ Links ]
[2] Sugarcane Production Best Management Practices, disponible: www.lsuagcenter.com/NR/rdonlyres/83ABA47A-8DBB-47A3-B3AB-85C85B1B930D/3155/pub2833Sugarcane4 [citado 10 de mayo de 2006]. [ Links ]
[3] DÍAZ A.J. PÉREZ G. I., Simulation and Optimization of Sugar Cane Transportation in harvest Season, Proceedings of the 2000 Winter Simulation Conference, Florida, USA, 1114-1117, 2008. [ Links ]
[4] WILLIAMS J.A. Engineering tribology. Oxford Science Publications, 1994. [ Links ]
[5] BLAU P.J. Friction science and technology. CRC press, 1995. [ Links ]
[6] HUTCHINGS I.M. Tribology: friction and wear of engineering materials. Edward Arnold, 1992. [ Links ]
[7] PETERSON M.B. Wear control handbook. American Society of Mechanical Engineers, 1980. [ Links ]
[8] ASM Metals Handbook, vol. 18, Friction, lubrication and wear technology, 1992. [ Links ]
[9] GAGG C.R. LEWIS P.R. Wear as a product failure mechanism Overview and case studies. Engineering Failure Analysis. 14, 1618-1640. 2007. [ Links ]
[10] AZEVEDO C.R.F. CESCON T. Failure analysis of aluminum cable steel reinforced (ACSR) conductor of the transmission line crossing the Parana´ River. Engineering Failure Analysis, 9, 645-664, 2002. [ Links ]
[11] AZEVEDO C. R. F. SINATORA A. Failure analysis of a railway copper contact strip. Engineering Failure Analysis, 11, 829-841, 2004. [ Links ]
[12] POURSAEIDI E. MOHAMMADI M.R. Failure analysis of lock-pin in a gas turbine engine. Engineering Failure Analysis, 15, 847-855, 2008. [ Links ]
[13] CORONADO J.J. RIVAS J.S. GÓMEZ A.L. Estudio Tribológico en Chumaceras y Ejes de Molino de Caña de Azúcar. Dyna, 144. 1-8, 2004. [ Links ]
[14] CORONADO J.J. Análisis del Desgaste para el Par Bronce-Acero en un Molino de Caña de Azúcar, Ingeniería y Competitividad, 6, 75-82, 2004. [ Links ]
[15] RIVAS J.S. CORONADO, J.J. GÓMEZ. A.L. Tribological aspects for the shafts and bearings of sugar cane mills. Wear, 261, 779-784. 2006. [ Links ]
[16] AVALLONE A., BAUMEISTER T., SADEGH A. Marks' Standard Handbook for Mechanical Engineers 11th Edition, McGraw-Hill, 2007. [ Links ]













