Services on Demand
Journal
Article
Indicators
-
Cited by SciELO -
Access statistics
Related links
-
Cited by Google -
Similars in
SciELO -
Similars in Google
Share
DYNA
Print version ISSN 0012-7353On-line version ISSN 2346-2183
Dyna rev.fac.nac.minas vol.76 no.160 Medellín Oct./Dec. 2009
EVALUACIÓN DE LAS PROPIEDADES MECÁNICAS DE LA ESTRUCTURA INTERNA DE LA GUADUA CON UN MODELO MATEMATICO
EVALUATION OF MECHANICAL PROPERTIES OF THE INTERNAL STRUCTURE OF THE GUADUA WITH MATEMATICAL MODELLING
JAIRO ALEXANDER OSORIO SARAZ
Profesor Facultad de Ciencias Agropecuarias, Universidad Nacional de Colombia-Sede Medellín, aosorio@unal.edu.co
ALBEIRO ESPINOSA BEDOYA
Profesor Facultad de Minas, Universidad Nacional de Colombia-Sede Medellín, aespinos@unal.edu.co
EDUARD A. GARCÍA GALEANO
Ingeniero Agrícola M.Sc. Universidad de Puerto Rico – Mayagüez, Departamento de Ingeniería Civil, egg13345@uprm.edu
Recibido para revisar junio 20 de 2008, aceptado octubre 28 de 2008, versión final noviembre 11 de 2008
RESUMEN: Se caracterizo la estructura interna del Bambú-Guadua angustifolia kunth (GAK), en su zona media, encontrando la composición interna de este material compuesto, como son el porcentaje de la matriz (parénquima) y de fibras (células de fibras y tejido conductivo). Se determinó las propiedades mecánicas como la resistencia a tensión y a flexión en sentido tangencial, y la Relación de Poisson del material y la resistencia de la fibra. Se valido un modelo matemático para materiales compuestos propuesto por Chandrupatla& Belegundu (1999), y se encontraron algunas ecuaciones que permiten predecir la resistencia del material en función de la resistencia de la fibra, y también para realizar modelos computacionales útiles para la industria de laminados de pisos en Bambu-guadua. Los resultados experimentales no difirieron significativamente de los resultados obtenidos con los modelos matemáticos.
PALABRAS CLAVE: Propiedades mecánicas de la guadua, materiales anisotrópicos, modelamiento matemático.
ABSTRACT: The internal structure of Guadua angustifolia-kunth bamboo (GAK) was characterized in its middle zone, finding the internal composition of this composite material, such as the percentage of the matrix (parenchyma) and the fibers (fiber cells and conductive tissue). Mechanical properties of the material were found, such as resistance to tension and the Poisson ratio of the material, and the resistance of the fiber and of the matrix. A mathematical model proposed by Chandrupatla & Belegundu (1999), was validated for composites materials, and some equations were found that permit the prediction of the material´s resistance, and also create computational models useful for floor laminates in Bamboo-Guadua. The experimental results did not differ significantly from the results obtained with the mathematical models.
KEYWORDS: Mechanical properties of Guadua, anisotropic materials, mathematical modelling.
1. INTRODUCCIÓN
En Colombia y a nivel internacional se han realizado varias investigaciones para determinar las propiedades mecánicas de los bambúes en su espesor total y en cada una de las zonas que la componen, interna, media y externa, entre los cuales se encuentra la guadua Guadua angustifolia Kunth (GAK).
Dadas las propiedades mecánicas que presentan la GAK y la apertura de mercados, la tendencia es utilizarla en laminados para pisos y para sistemas estructurales. Dentro del proceso de elaboración de laminados, la parte de la guadua más utilizada es la de la zona media, dejando como subproductos las zonas externa e interna. Dado lo anterior, para entrar en los proceso de modelación con la guadua como material laminado, es necesario conocer sus propiedades mecánicas internas de la zona media, aunque algunas de ellas son conocidas, otras como la resistencia de las fibras, Relación de Poisson del material en dirección perpendicular a las fibras y la resistencia de la matriz son desconocidas.
Estructura interna de los bambúes y sus propiedades
Las propiedades de los culmos de bambú están determinadas por su estructura anatómica, ya que ella define las propiedades mecánicas y por tanto el uso final del material [1,2].La sección transversal de la pared del culmo de los bambúes está compuestos por un 52% de tejido de parénquima, un 40% de fibras y un 8% de tejido conductivo [2]. En la referencia [3] encontraron que la GAK se encuentra compuesta por un 51% de tejido de parénquima, un 40% de fibras y un 9% de tejido conductivo, y en la referencia [4], encontraron que la GAK se encuentra un 47,37 % de parénquima, un 41,92% de fibra y un 10,71% de tejido conductivo (ver Tabla 1), pero ambos coinciden que además, a través de la pared del culmo de los bambúes, el porcentaje de fibra decrece de la zona externa a la interna, mientras que el porcentaje de parénquima es mayor en la zona interna que en la externa, mientras el porcentaje de tejido conductivo crece de la zona externa a la interna.
Tabla 1. Composición de la estructura interna de la GAK
Table 1. Composition of the internal structure of the GAK

Propiedades mecánicas de las fibras
El conocimiento de las estructuras de las células de las fibras ayuda al entendimiento de las propiedades mecánicas de los materiales biológicos, y se convierte en parte fundamental para el diseño y producción de nuevos materiales. Cuando se modela un material vegetal, es importante conocer a nivel jerárquico que parte del elemento es importante y la que se quiere conocer, dada la compleja estructura que forman las células de fibras [1, 2].
Los haces vasculares, rodeando el tejido conductivo, se encuentra la zona que contiene las fibras de la GAK. Esas fibras pueden alcanzar la longitud del entrenudo al ser extraídas manualmente y tienen diámetros entre los 250 y 550 mm que dependen del tamaño del haz vascular, cuyas características son comunes en fibras naturales.
Las fibras son unidas entre sí por células de parénquima. En el extremo de las fibras, se observa que éstas están formadas por unidades menores denominadas células de fibras, que se hallan en tamaños largos y cortos y tienen espesores promedio de 15 mm [4]
En las referencias [5,6], reportan un espesor células de fibra de la Guadua que varía entre 11 y 19 µm; la referencia [7], reporta espesores que varían entre 13,1 y 22,9 µm y áreas entre 197,16 y 638,9 µm2. La densidad de las fibras de GAK de acuerdo con la referencia [7], alcanza valores promedios de 1,38 g/cm3, que de acuerdo con la referencia [2], representa entre el 60 y 70% el peso total del culmo.
En la referencia [7], encontraron que la resistencia a tensión de la fibra de la GAK es de 642 MPa, y en la [8], reportaron que la resistencia a tensión de la fibra es 610 MPa y de la matriz (parénquima y tejido conductivo) de 50 MPa, como se observa en la Figura1.
Figura 1. Resistencia a tensión de la matriz y fibra del bambú [17]
Figure 1. Resistance to tension in the matrix and bamboo fiber [17]
Resistencia a tensión del material
La prueba de tensión es uno de los ensayos más comunes para determinar propiedades mecánicas; sin embargo, para la guadua no ha resultado tan común. El principal problema, al momento de realizar ensayos resulta de la forma de sujetar la probeta en sus extremos, lo que da origen a errores en las lecturas en ciertas ocasiones. En consecuencia, con el fin de facilitar el agarre de las probetas, se sugiere utilizar guaduas ahusadas como se muestra en la Figura 2, con las recomendaciones en dimensiones realizadas por el INBAR [9]. Según la referencia [10], la resistencia máxima a tensión (Ft) y el módulo de elasticidad (E) se pueden obtener a partir de las siguientes ecuaciones:


Donde:
Fúlt: carga última o máxima (N).
A: área (mm2).
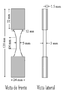
Figura 2. Probetas de guadua a tensión . A. Vista de frente. B. Vista lateral
Figure 2. Test tubes of bamboo to tension. A. front view. B. Side View
El área es la medida de la sección transversal en la contracción, con un ancho fijo de 5 mm y un espesor variable 3 mm, además, Fpl es la carga en el límite proporcional (N), L es la longitud de la parte estrecha (mm) y dpl es la deformación en el límite proporcional (mm).
En la referencia [11], encontraron valores para el bambú Calcuta, de 156,14 MPa a nivel de la basa y de 185,3 MPa en la sobrebasa, mientras que en la referencia [8], encontraron para la Guadua angustifolia kunth un esfuerzo promedio de 148,4 MPa para elementos sometidos a tensión.
En la referencia [12], realizaron una investigación para analizar la influencia que existe entre algunos parámetros geométricos con la resistencia última o máxima en los elementos sometidos a tensión. Los resultados mostraron que el factor espesor de la pared es el que mayor incidencia presenta en la resistencia, con un valor promedio de 190,7 MPa, a un nivel de confianza del 95%. Zen, Li, Zho (1992) citado por la referencia [13], encontró resistencias en elementos sin nudo, de 212,8 MPa.
Resistencia a Flexión tangencial del material
De acuerdo a la referencia [10], la resistencia última de elementos sometidos a flexión estática, y el modulo de elasticidad pueden ser determinados a partir de las ecuaciones 3 y 4, respectivamente, que se utilizan para vigas con cargas en dos puntos.

Donde:
Fb: esfuerzo máximo a flexión (N/mm2).
F: fuerza máxima aplicada (N).
L: luz de la viga (mm)
De: diámetro externo del elemento (mm).
Di: diámetro interno del elemento (mm).
Ielemento: momento de inercia del elemento (mm4)
M: Momento máximo (N-mm)

Donde:
E: módulo de elasticidad (N/mm2).
F, L, I: parámetros incluidos en la ecuación 3.
d: deflexión promedia obtenida del diagrama esfuerzo – deformación (mm).
La referencia [14], reportó valores de resistencia a la flexión tangencial de 142,3 MPa.
Relación de Poisson del material
En la Figura 3, se muestra el valor de la relación de Poisson según la capa y zona de muestreo, indicando que la relación de Poisson es significativamente superiores en la basa con respecto a la cepa tanto en el espesor total como en cada una de las zonas analizadas. Lo anterior es debido a que en la basa existe un mayor porcentaje de fibras y menor de parénquima, lo que le permite una menor deformación lateral al material en relación con la cepa [4].
Figura 3. Relación de Poisson para la basa y la cepa
Figure 3. Poisson´s relation of basa and cepa
2. MATERIALES Y MÉTODOS
El material utilizado correspondió a GAK, con edades promedio de 4 años. Se seleccionaron probetas sin nudo y los sitios de donde se extrajeron las probetas no sobrepasaron dos entrenudos subsiguientes, con el fin de garantizar la homogeneidad del material utilizado.
Para realizar la caracterización de la estructura interna de la zona media de la sección transversal, la cual es utilizada para laminados, se uso el microscopio electrónico de barrido (SEM), y por medio de técnicas de procesamiento de imágenes se determino el porcentaje de matriz (parénquima) y de fibras (células de fibra y tejido conductivo) (Figura 4).
Figura 4. Composición del espesor total de la GAK
Figure 4. Composition of the total thickness of the GAK
De las probetas seleccionadas de la zona media del material, se extrajeron las fibras para realizar los ensayos mecánicos respectivos con áreas promedios de 0,16 mm2. Para la extracción de dichas fibras se procedió a humedecer el material embebiéndolo en agua durante un tiempo de 72 horas, y posteriormente de manera manual se extrajeron las fibras respectivas. Las propiedades mecánicas a tensión y flexión en sentido tangencial de las probetas, fueron determinadas de acuerdo a la norma ISO 22157 de 2004 “Determination of physical and mechanical properties of bamboo”(Ecuaciones 1, 2, 3 y 4).
La Relación de Posisson para el material se obtuvo a partir de la ecuación 5, sometiendo el material a deformaciones bajo cargas de tensión, en donde se midió la deformación lateral y axial.

La resistencia a tensión de las fibras se determinó usando la norma NTC 959 utilizada por la referencia [7], con longitudes de probetas de 100 mm, velocidades de carga de 1,333 mm/s, y una carga entre 0 y 80 N y falladas en un Texturometro TA-XT2.
La GAK como la madera pueden considerasen como un material ortotropico, toda vez que los compuestos unidireccionales reforzados con fibras, como es el caso de la GAK exhiben este comportamiento, y se pueden modelar como un problema bajo esfuerzo plano. En un material compuesto unidireccional, el Modulo de Young o de elasticidad a lo largo de las fibras es mayor que en la dirección transversal, es decir E1>E2 (Figura 5). La carga se considera que actúa en el plano 1, 2 es decir, en el plano X y Y, sin tener en cuenta el eje Z, obteniéndose la ecuación 6, propuesta por la referencia [15]; donde: E: módulo de elasticidad; G: módulo de rigidez; υ: relación de Poisson; τ: esfuerzos cortantes; γ: deformación angular; ε: deformación unitaria.
Figura 5. Modelo de cuerpos ortotropicos bajo esfuerzos planos utilizado para la GAK
Figure 5. Model forces orthotropic with planes stress used for GAK

Donde:
E: módulo de elasticidad;
G: módulo de rigidez;
υ: relación de Poisson;
t: esfuerzos cortantes;
g: deformación angular;
e: deformación unitaria
Para determinar el tamaño muestral, y obtener las propiedades mecánicas tanto de las probetas como de la fibra, se realizaron pruebas pilotos con tres réplicas por tratamiento. Posteriormente por curvas características de operación, en una gráfica de probabilidad de error tipo II contra el parámetro f que refleja la medida en la cual la hipótesis nula es falsa, se determinó el tamaño más apropiado. Así, para las probetas de GAK sometidas a tensión longitudinal y a flexión tangencial, se realizaron diez (10) repeticiones, para las fibras sometidas tensión y para la Relación de Poisson se realizaron quince (15) repeticiones. Para determinar si existía o no diferencias significativas entre los modelos matemáticos y los resultados experimentales, se realizó una prueba Duncan con un porcentaje de confianza del 95%.
3. RESULTADOS Y DISCUCIÓN
Caracterización de la estructura interna
En la caracterización de la estructura interna de la zona media del material, se encontró que la matriz (parénquima) tiene un 43,54% del área total, y las fibras (células de fibra más tejido conductivo) representan un 56,46% del área total, resultados que coinciden con los encontrados por las referencias [3, 4, 15].
Propiedades mecánicas de las probetas de GAK a tensión
La Tabla 2, da a conocer las propiedades a tensión de la GAK, en la zona media en la dirección longitudinal, mostrando una resistencia de 222, 69 MPa en promedio, un módulo de elasticidad promedio (E1) de 3085, 9 MPa y una deformación unitaria promedio (ε1) de 0,078 (mm/mm). Estos valores de resistencia no difieren significativamente de los encontrados por las referencias [3,12,13], cuando se analiza la zona media del material, cuya resistencia en esta zona se aproxima a la resistencia del material analizado en su totalidad, es decir en el conjunto de las zonas externa, media e interna.
Tabla 2. Propiedades de la GAK en la dirección longitudinal
Table 2. Properties GAK´S longitudinal direction

En la Tabla 3, se dan a conocer las propiedades en la zona media e dirección transversal.: La resistencia en sentido transversal, es decir la resistencia a flexión en sentido a El módulo de elasticidad promedio en dirección transversal E2 fue de 3930,92 MPa, y: deformación unitaria en sentido transversal ε2 de 0,0012 (mm/mm) La: relación de Poisson en sentido longitudinal-transversal, υ12 es de 0,34 reportada por la referencia [3]; y la relación de Poisson en sentido transversal longitudinal, promedia encontrada, fue υ21 de 0,25.
Tabla 3. Propiedades de laGAK en la dirección transversal
Table 3. Properties GAK´S transversal direction

Propiedades mecánicas de las fibras de GAK
La resistencia promedio a tensión de la fibra de la GAK en la zona media del material, fue de 122,84 MPa, con un valor mínimo y máximo de 98,29 y 160 MPa respectivamente, y una desviación estándar de 18,61 MPa. Este valor promedio obtenido, difiere significativamente de los resultados encontrados por las referencias [7,17], que fue en promedio de 642 MPa, y por la referencia [8] que reportó un valor de 610 MPa. Estos valores difieren significativamente ya que en el presente estudio se tomaron fibras de GAK de un área promedio de 0,16 mm2 (promedio del área de fibras cuando se extraen manualmente), mientras que los otros autores trabajaron con áreas que variaron entre 197 y 638 µm2; valores que se aproximan más al área de las células de fibra.
Validación del modelo matemático aplicado a la GAK en su zona media
Para determinar la resistencia en la dirección longitudinal del material, una vez obtenidos todos los parámetros necesarios, de la ecuación 6 se extrajeron las ecuaciones 7 y 8:

Donde:
s1: Resistencia del material en dirección longitudinal.
s2: Resistencia del material en dirección transversal.
E1: módulo de elasticidad en dirección longitudinal = 3085,88 MPa
E2: módulo de elasticidad en dirección transversal = 3930,92 MPa
u12: relación de Poisson en sentido longitudinal transversal = 0,34 (Osorio et al, 2007)
u21: relación de Poisson en sentido transversal longitudinal = 0,25
e1: deformación unitaria en sentido longitudinal = 0,078 (mm/mm)
e2: deformación unitaria en sentido transversal = 0,0012 (mm/mm)
Una vez reemplazado los valores en la ecuación 7, se obtiene que la resistencia en la dirección longitudinal es de 264,34 MPa, cuyo valor no difirió significativamente del resultado experimental (222,69 MPa), ya que se encuentra dentro del rango de la desviación estándar, así como de los reportados por otros autores como en la referencia [6] de 263 MPa y la referencia [10] con valores de 235 MPa, por tanto se puede concluir que la ecuación 6, propuesta por la referencia [15], para materiales ortotrópicos se puede utilizar para determinar la resistencia en sentido longitudinal, en la zona media de la GAK (ver Figura 5).
Figura 5. Comparación de la resistencia a la tensión longitudinal de la zona media con datos experimentales y teóricos
Figure 5. Comparison of tensile strength of the middle zone with theoretical and experimental data
De igual manera, reemplazado los valores en la ecuación 8, se obtiene que la resistencia en la dirección transversal (flexión tangencial) es de 119,08 MPa, cuyo valor no significativamente del resultado experimental (135,46 MPa), ya que se encuentra dentro del rango de la desviación estándar, ni de los reportados por la referencia [14] que dio a conocer valores promedios de 142,3 MPa, por tanto la ecuación 7, propuesta por la referencia [15], para materiales ortotrópicos se puede utilizar para determinar la resistencia en sentido transversal (flexión tangencial), en la zona media de la GAK (ver Figura 6).
Figura 6. Comparación de la resistencia transversal o flexión tangencial, de la zona media con datos experimentales y teóricos
Figure 6. Comparison of resistance to bending cross tangentially, in the middle zone with theoretical and experimental data
Utilizando la Ley de mezclas de la ecuación 9, y teniendo en cuenta que nF: Área de la fibra (56,46 %); nM: Área de la Matriz (43,54 %); y sF: Resistencia de la fibra (122,84 MPa); sM: Resistencia de la Matriz (Aproximadamente igual a 50 MPa reportado la referencia [8], se obtiene que la resistencia s1 en dirección longitudinal, tiene un valor de 90,29 MPa, el cual difiere significativamente de los resultados experimentales (222, 69 MPa).

Dado que los resultados obtenidos con la ley de mezcla expuesta en la ecuación 9 difirieron significativamente de los datos experimentales, se realizó un arreglo matemático por aproximaciones, encontrando las ecuaciones 10, 11, y 12, con el fin de determinar la resistencia del material s1 en dirección longitudinal, solamente en función de la resistencia a la fibra.

Remplazando 10 en 11 se obtiene:

Al reemplazar los valores experimentales en las ecuación 12, teniendo en cuenta que la resistencia promedio de la fibra en la zona media fue de 122,84 MPa, se encuentran valores de resistencia total de 224,79 MPa, que no difiere significativamente de la media del valor experimental (222,69 MPa). De igual manera al reemplazar el valor promedio de la resistencia de la fibra en la ecuación 10, se encuentra que la resistencia de la matriz es de 49,13 MPa, valor que no difiere significativamente por el encontrado por otras investigaciones como la reportada por la referencia [8], quien encontró valores promedios de 50 MPa.
4. CONCLUSIONES Y RECOMENDACIONES
Las ecuaciones 7 y 8, propuestas por la referencia [15]; para materiales ortotrópicos, se puede (en utilizar para determinar la resistencia en sentido longitudinal (tensión) y transversal (flexión tangencial), de la GAK, en su zona media, la cual es la más utilizada para industrias de laminados.
Dado que el comportamiento de la GAK como material ortotrópico no obedece a la ley de mezclas (ecuación 8) para materiales compuestos, se obtuvo que a partir de las ecuaciones 10 y 12 se puede determinar la resistencia del material en la zona media una vez conocida la resistencia de la fibra.
Las propiedades mecánicas expuestas en este trabajo, como son la resistencia a tensión y a flexión tangencial del material, resistencia de la fibra, modulo de elasticidad y Relación de Poisson del material, son de gran utilidad para realizar modelos computacionales del comportamiento de la zona media de la GAK, importante par la industria de laminados.
REFERENCIAS
[1] JANSSEN, JULES J. Mechanical properties of bamboo.): http://www.bambus.com/new/eng/reports/mechanical_properties/referat2.html [Citado 1 de Diciembre de 2006]. [ Links ]
[2] LIESE, W. The anatomy of bamboo culms. INBAR Technical report Nº 18. International Network for Bamboo and Rattan, Beijing, China , 1998. [ Links ]
[3] LONDOÑO, X., RIAÑO, N.M. & CAMAYO, G.C. Estudio anatómico de los diferentes órganos de la guadua (Guadua angustifolia Kunth), con énfasis en el culmo. Corporación regional autónoma del Quindío Sociedad colombiana del bambú Federación Nacional de Cafeteros de Colombia CENICAFE. Chinchiná, Colombia, 2002. [ Links ]
[4] OSORIO J; CIRO H; VELEZ J. Estructura interna de la guadua y su incidencia en las propiedades mecánicas. Revista DYNA., 153, 81-94, 2007. [ Links ]
[5] AMADA S; MUNEKATA T; NAGASE Y.. The mechanical structures of bamboos in viewpoint of functionally gradient and composite materials. J Compos Mater., 30, 800-19. 1997. [ Links ]
[6] LIESE W; GROSSER D. Untersuchungen zur variabilitat der faserlange bei bambus. Holzforsch. Holzverwert., 26, 2002-211, 1972. [ Links ]
[7] MORENO L, OSORIO L, TRUJILLO E. Caracterización físico química de las fibras de la Guadua angustifolia Kunth. [Ingeniería Industrial Tesis]. Universidad Nacional de Colombia Sede Manizales, 2004. [ Links ]
[8] WEGST UGK S. Laminated Panel Manufacture of Two Kinds of Bamboo for Architecture Material and Property Comparison. Research Institute of Wood Industry 100091. Beijing Chinese, 1993. [ Links ]
[9] THE INTERNATIONAL NETWORK FOR BAMBOO AND RATTAN. Inbar standard for determination of physical and mechanical properties of bamboo. INBAR, 1999. [ Links ]
[10] INTERNACIONAL ORGANIZATION FOR STANDARDIZATION ISO. Bamboo -- Determination of physical and mechanical properties. ISO/TR 22157-2, 2004. [ Links ]
[11] AHMAD MANSUR, A.. Analysis of Calcutta bamboo for structural composite materials. [PhD of Philosophy in Wood Science and Forest Products Thesis]. Department of Wood Science and Forest Products. Virginia Polytechnic Institute and State University, 2004. [ Links ]
[12] CIRO, H; OSORIO, J; VÉLEZ, J..Determinación de la resistencia mecánica de la guadua angustifolia kunth a tensión y cizalladura. Revista Facultad Nacional de Agronomía., 58, 2709-2715, 2005. [ Links ]
[13] HIDALGO OSCAR. Bamboo. The gift of the gods. O. Hidalgo (Ed.) Bogotá, Colombia, 2003. [ Links ]
[14] OSORIO J. Caracterización de la estructura interna de la guadua Angustifolia kunth y su relación con las propiedades mecánicas. [Maestría en Ingeniería de Materiales y Procesos Tesis]. Universidad Nacional de Colombia Sede Medellín, 2006. [ Links ]
[15] CHANDRUPATLA T, BELEGUNDU A. Introducción al estudio de elementos finitos en ingeniería. Segunda Edición. Editorial Pearson, 1999. [ Links ]
[16] LO TOMMY, CUI, H.Z; LEUNG, H.C. The effect of fiber density on strength capacity of bamboo. Materials letter., 58, 2595-2598, 2007. [ Links ]
[17] GHAVAMI K; HOMBEECK P. Applications of bamboo as a construction materials. Proc. Lat Amer of building Appl. Low cost housing. Sao Paulo, 1981. [ Links ]













